讲解人:无锡圣马 卢俊华 (点击联系)
组织者:护肤俱乐部
香水喷头知识介绍
讲解人: 无锡圣马 卢俊华
大家好,我是无锡圣马科技有限公司卢俊华。我司主要产品是各种泵头、喷涂类产品。香水喷头呢,是我们主要产品之一,主要客户出口比较多,有20年的历史,接下来结合公司的产品来讲解一下香水喷头。
喷头种类
1、塑料喷头
主要部件材质为聚丙烯塑料PP,常见规格尺寸从11牙口到28牙口不等。按压出水量从0.035ml ~0.4ml不等 。外观有蕾丝面以及光面,以及氧化铝壳装饰 。大部分塑料喷头为螺口式,少数为按压式封口,按压式主要用在试用装香水。

2、卡口喷头
卡口喷头是最常见的香水喷头。也是今天主题最默契的喷头。 常见规格尺寸从13mm;15mm;18mm;20mm,尤其15mm最多使用 。是因为30ml,50ml,100ml的玻璃瓶,通常配同一大小的瓶口,这样配喷头也容易一些。
喷一次,出水的容量是多少。常见出水量有0.05ml;0.08ml;0.1ml;0.12ml等,根据客户需求来定。
塑料件可以各类颜色,而电化铝外观颜色常做金色银色以及其他颜色,黑色、枪灰色等都可以做,但个别颜色比较难做。
中套是为了瓶子与盖子做固定作用,款式也需要进行很好的匹配。配套的中套有直筒中套,台阶中套,骨位中套等 。



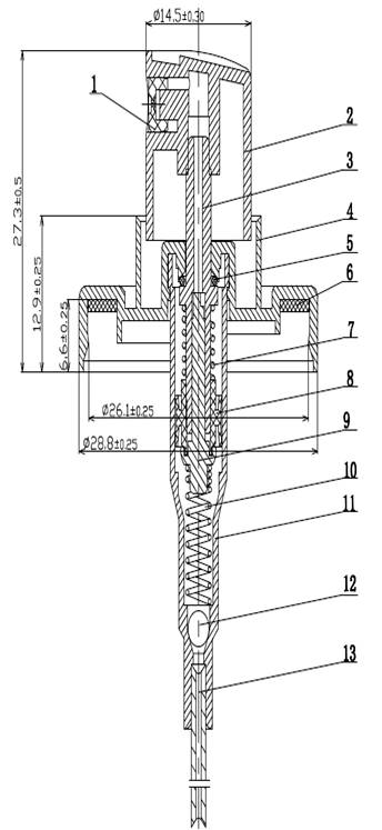
喷头结构及组成
主要有喷嘴,按头,主杆,上活塞,压盖,垫片,弹簧,下活塞,钢珠,泵体,吸管组成 。这是两 个弹簧的泵结构,也有单个弹簧的。

工作原理 :
简单的说就是大气压强原理 ,按头第一次被压下时,泵体内的空气被压缩,活塞下行,钢珠(玻璃珠)与泵体密封,空气从喷嘴排出;按头归位过程中,弹簧的弹力让活塞上升,在亚真空状态的泵体内产生吸力,液体没有钢珠(玻璃珠)的阻挡 进入泵体;再次按压,泵体内液体受挤压压强作用,通过主杆,按头,喷嘴喷出;喷嘴的旋风槽让液体产生雾化效果。
生产时常见问题
香水喷头本身零件较多,各部件完美配合才能实现良好的功能;同时,香水喷头与中套,香水瓶盖,容器甚至外包装盒的良好配合是一个产品能够推向市场,能够被消费者认可的基础。
以下几点包材开发人员可以参考:
尺寸:香水喷头铝件,包含香水中套的尺寸要根据容器(玻璃或塑料)以及配套的香水盖共同确认;
因(不同客户不同款式)瓶口高度,直径不同,可通过调整喷头铝壳的尺寸达到最优的封口效果;同理,配套的中套也是一样根据泵头而变化,根据盖子的尺寸做调整,以达到各部件搭配到适合的松紧度;
材质:常规的香水中套应该用硬度稍高的合金铝做,喷头上的铝用中等硬度的铝材即可;这样,中套压到泵头上不会爆筋,外观不受影响;垫片(封水片)材质根据自身产品特点可选择PE/SILICONE/RUBBER/NBR等材质 ,需要测试香精对垫片的反应。
兼容性:某些香精或者液体可能会对泵头的某些零件功能有影响,所以在大批量使用泵头之前,须做兼容性测试;对象有:与液体接触的泵体/弹簧/垫片/活塞等。案例:香精让PP泵体变形,酸性液体使弹簧生锈;
验收常见内容

1. 外观: 颜色,脏污,灰尘,毛发,破损等
2. 产品的尺寸规格:是否符合订单要求,如螺牙尺寸,吸管长度,出水量等
3. 功能性测试:与瓶的配合是否漏液,喷头本身是否可以正常工作
4. 兼容性测试:与液体的兼容性是否OK
谢谢大家~
? 2017 - 护肤俱乐部 - www.hufu.club 转载需注明出处





